ПЛИС фирмы «ALTERA». Элементная база, система проектирования и языки описания аппаратуры-20% +262
💳 Оплатить за товар можно при получении 🇰🇿 Есть бесплатная доставка по Казахстану от 1 дня 🎁 Копите бонусы с каждой покупки В книге рассмотрены вопросы практического применения ПЛИС фирмы Altera при разработке цифровых устройств. Приведены краткие сведения об особенностях архитектуры и временных параметрах устройств. Рассмотрены САПР MAX+PLUS II и Quartus, языки описания аппаратуры AHDL, VHDL, VERILOG HDL. Приводятся примеры описания цифровых устройств на языках высокого уровня, а также примеры реализации некоторых алгоритмов. Приведены сведения о современных интерфейсах передачи данных, даны рекомендации по разработке печатных плат. Книга поможет начинающему разработчику в выборе элементной базы и даст представление о технологии проектирования устройств на ПЛИС. |
ДМК Пресс, Россия, все товары





































































































































































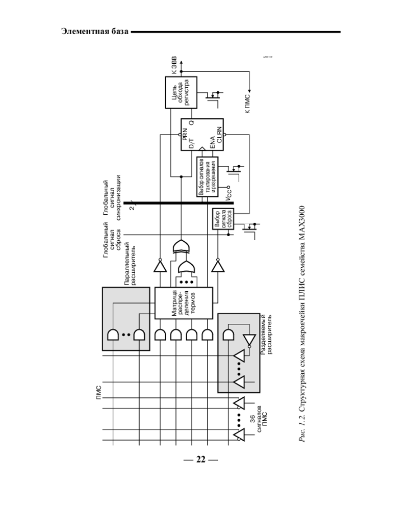
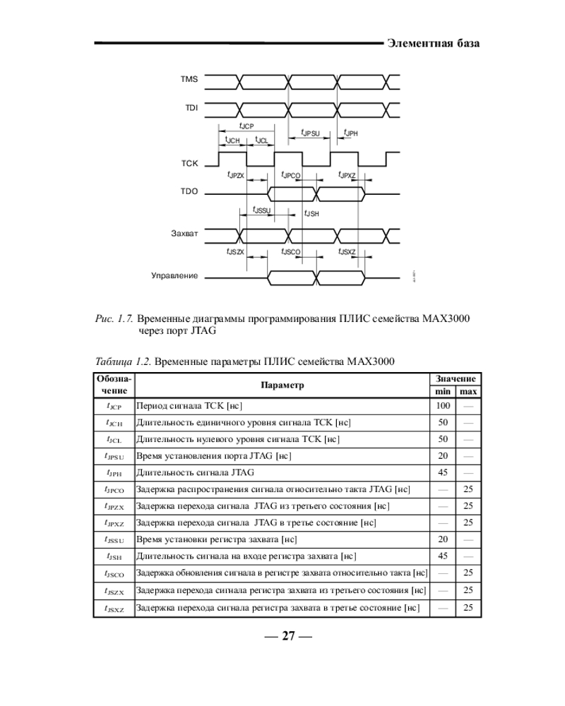
%text%